Loading...

Bloomington, IN, 47401 • 47401 • Monroe County
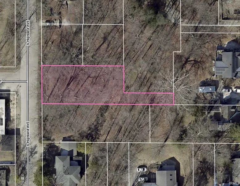
0.21 acLot
Elm Heights
47401
This home is getting attention
Listed 65 days ago · 26 views
Demand and pricing signals for this listing
26 views
People checking out this listing
65 days on market
Established listing
This home ranks in the top 38% of listings most likely to go under contract soon, based on market activity and demand signals.
Want the full market analysis?
Get the detailed selling prediction score, comparable sales data, and price trend forecast for this property.
Free · Delivered to your inbox in minutes
Lot
Seize this rare opportunity to own a .21 acre lot just a few blocks from Indiana University's campus and the beloved Bryan Park. Nestled in a coveted location, this property offers the perfect blend of convenience and tranquility. The lot is adorned with mature trees, providing a serene and picturesque setting, while being surrounded by upscale living. Whether you're looking to build your dream home or invest in a prime piece of real estate, this location offers endless potential. Enjoy easy access to IU's vibrant campus, as well as the recreational amenities of Bryan Park, and Eastside shopping amenities. Don't miss out on this unique chance to secure a premium lot in one of Bloomington's most desirable neighborhoods. Additional .23 adjacent lot available for purchase.
Based on current rates
Est. 6.26% rate · 30yr fixed · $200,000 loan
Full calculator →Virtual Tour
Open in new tab ↗Loading virtual tour…
Key facts and listing details
3 categories of property features
Market data and value estimates
3 schools rated nearby
Bloomington, IN, 47401
3 events
Local context around this listing
Bloomington, IN • Monroe County
Nearby neighborhoods
Nearby cities
Nearby zip codes
IDX information is provided exclusively for personal, non-commercial use, and may not be used for any purpose other than to identify prospective properties consumers may be interested in purchasing. Information is deemed reliable but not guaranteed.
No obligation · Same-day response